Views: 613 Author: Site Editor Publish Time: 2025-12-25 Origin: Site
On February 18,2022, the Center for Drug Evaluation (CDE) issued the "Technical Guidelines for Research on Homogeneity of Oral Solid Dosage Forms and Central Control Unit Homogeneity (Trial)", hereinafter referred to as the "Guidelines". The Guidelines focus on the final mixing process, which is also based on the overall concept of quality by design. This is because the homogeneity of the final mixture prior to compression or filling operations is the foundation for ensuring the uniformity of the final product's content, and it is also the optimal stage for sampling and conducting homogeneity studies. In principle, the homogeneity study of this stage should not be skipped, and the final product's content uniformity testing should not be conducted directly. Of course, any mixing operation during the production process can be evaluated for homogeneity, but the requirements and standards for homogeneity in other processes are not explicitly specified in these Guidelines. The author shares some insights and discussions based on practical experiences encountered in the work.
Common production processes for oral solid dosage forms include high-shear wet granulation, fluidized bed one-step granulation, dry granulation, and powder direct compression/filling. The mixing procedures in oral solid dosage form production typically involve at least two mixing steps: premixing and final mixing, with some products potentially requiring more than two mixing stages. While the final mixing process is generally consistent across different production methods, the risk levels during the premixing stage vary due to differing production principles, necessitating differentiated research approaches for premixing uniformity. According to the 2023 edition of the GMP Guidelines-Oral Solid Dosage Forms Section, there is no mandatory requirement to evaluate mixing uniformity during premixing (if applicable). Properly determining the extent of mixing uniformity research is critical for product development costs and quality control.
When using the high-shear wet granulation process, the premixing step should ideally be performed within the wet granulator. Alternatively, the materials may first be mixed in a mixer before transferring to the granulator. Unless the product has specific requirements, premixing in the granulator is recommended as it reduces material transfer and mixer usage, ensuring a more efficient workflow. For high-shear wet granulation, premixing is typically essential, as it minimizes the risk of uneven wet granules in subsequent processing stages.
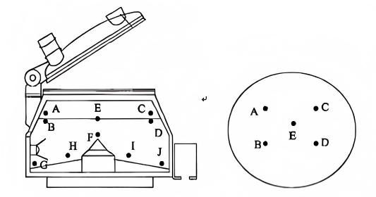
Sampling principles based on guidance principles: Sampling points should be uniformly distributed and representative. Considering the structural characteristics of the mixing equipment, the dead zones of the mixing equipment should be identified to ensure coverage of all materials while representing the worst-case locations. The pre-mixing sampling points inside the wet granulator are shown in the figure below.

The homogeneity of premixing is generally influenced by four factors: material loading volume, stirring speed, shear rate, and mixing time, with potential interactions among them. Conducting a Design of Experiments (DOE) would require an excessive number of trials. The loading volume can be calculated based on the final registration batch size to ensure consistency between laboratory batches and future registration batches. Stirring speed and shear rate can be determined by considering the mixing state of materials and the ratio of stirring paddle radius between pilot-scale and intermediate-scale equipment. This approach reduces multifactorial variables to a single parameter—mixing time—for analysis.
The initial phase involves laboratory studies to evaluate how different premixing durations affect product uniformity, allowing identification of optimal parameters. These parameters are then validated during pilot-scale production. In pilot operations, samples are collected at various premixing intervals to assess consistency, ensuring compatibility between laboratory and pilot-scale mixing times. For process validation, only one time point is required, as premixing parameters are typically set as fixed values rather than ranges. Notably, validation of premixing uniformity is often omitted in this stage (particularly for low-risk products with labeled amounts>25mg or active ingredient content>25%), since the mixing duration is predetermined in pilot production and subsequent total mixing uniformity testing will be conducted.
Based on our laboratory equipment R&D experience, we have established preliminary guidelines for optimal mixing time. During pilot batch pre-mixing uniformity sampling, we no longer need to collect three samples per point as per standard protocols. This adjustment is because the pilot batch evaluation focuses on assessing how different mixing durations affect uniformity. Even when the RSD (Relative Standard Deviation) at lower time points appears significant, there's no need to validate the remaining two samples based on measurement results. Instead, we should select the optimal time point that demonstrates the highest uniformity.
For subbatch granulation products, if the pre-mixing uniformity of subbatches has been studied in pilot batches with good reproducibility between subbatches, it indicates stable pre-mixing processes. Even for products with active pharmaceutical ingredient (API) content below 25%, the pre-mixing risks are considered low, and pre-mixing uniformity validation may be omitted in process validation batches. Frontline personnel should be aware that the validation phase involves exceptionally large sample volumes and testing quantities under tight timelines. Through risk assessment, we can allocate resources to high-risk processes to better control product quality.
In fluidized bed one-step granulation, pre-mixing is generally unnecessary. The material to be granulated is fed into the fluidized bed, where it undergoes a preheating phase (temperature adjusted according to product characteristics) to achieve initial mixing. No uniformity testing is required after the preheating stage, allowing direct one-step granulation. This process leverages the fluidized bed's operational principle, where the material remains in a continuous boiling state, with vigorous mixing occurring throughout both the preheating and granulation phases.

During the preheating stage, the absence of binder addition may cause stratification between materials of different densities, making uniformity assessment after preheating impractical. In the subsequent granulation phase, as the binder is atomized and introduced, materials of varying densities are bonded together, gradually forming homogeneous particles. After granulation and drying, operations such as bag filter back-blowing are required to improve product yield. Consequently, residual fine powder or small particles inevitably remain in the upper layer of material after machine shutdown. Therefore, the content uniformity achieved through one-step fluidized bed granulation may not meet the requirements specified in the guidelines.
Particles produced through fluidized bed one-step granulation may undergo dry granulation or proceed directly to the masterbatch process, which ensures uniform content prior to tablet compression/filling. Therefore, in fluidized bed one-step granulation processes—whether for pilot testing, pilot-scale production, or process validation—content uniformity control and validation may be omitted, with greater emphasis placed on yield stability. If content uniformity concerns persist, it is advisable to collect data for retrospective analysis rather than establishing stringent acceptance criteria.
In dry granulation processes, premixing is critical for achieving uniform particle size, requiring focused research. Unlike fluidized bed one-step granulation, dry granulation demonstrates weaker mixing efficiency. The screw conveyor stage only achieves localized mixing, and the mixing condition of materials fed into the hopper ultimately determines the uniformity of the dry granules.

For the case of dry granulation after powder mixing, the pre-mixing study and total mixing study are essentially consistent. Since the same mixer can be used for both pre-mixing and total mixing, sub-batch issues generally do not occur during dry granulation after powder mixing. The sampling positions of mixers with different principles are shown in the figure below.

Dry granulation is primarily applied to single-step fluidized bed granulation when certain product types exhibit low density (e.g., solid dispersions prepared via fluidized bed), requiring density enhancement through dry granulation for successful filling or tablet compression. Sub-batch processing in fluidized bed systems may occur. Since dry granulation typically requires external additives, multiple sub-batches of fluidized bed materials can be combined with these additives before processing. The pre-mix uniformity assessment for the combined materials follows the same methodology as the previous powder mixing procedure.
Similar to the high-shear wet granulation process, the same premix loading quantity and fixed mixing speed can be determined based on the registration batch. From laboratory pilot testing to workshop pilot testing, only the impact of mixing time can be studied. Based on laboratory pilot research, the appropriate premixing time is confirmed during the pilot batch. For low-risk products, only one time-point verification of premix uniformity is conducted during the process validation phase, and the verification of premixing uniformity may be omitted.
The powder direct compression/filling process requires high material properties for formulation quality. Typically, there are two mixing stages: premixing and final mixing, with multiple mixing steps preceding the final stage. In most cases, only a small amount of lubricant or flow aid is added during the final mixing step. Therefore, it is essential to assess mixing uniformity through premixing and mixing investigations prior to final mixing. See the sampling schematic diagram under the dry granulation section.
The investigation of homogeneity in the premixing/mixing process primarily aims to identify appropriate mixing time parameters. Given the limited number of direct powder pressing/filling processes, the process validation production can concurrently validate both premixing/mixing and final mixing to enhance risk control capabilities for the manufacturing process.
The powder direct compression/filling process may involve multiple mixing steps, and manual mixing in any of these steps should be avoided whenever possible. For high-risk products, the reproducibility of commercial production may not be guaranteed due to variations in operator skills.
For conventional drugs, the total mixing uniformity is generally required to be within ±10% (absolute) of the mean value, with a coefficient of variation (RSD) ≤5%. For narrow therapeutic index (NTI) drugs or highly active drugs, where the accuracy of unit doses significantly impacts drug efficacy and safety, it is recommended that formulation applicants/pharmaceutical manufacturers, based on scientific understanding and risk assessment of the product, establish stricter sampling plans, conduct mixing uniformity studies, and develop more stringent acceptance criteria. For example, if the RSD is set at 2% or even lower, and assuming a coefficient of variation (CV) <10% for NTI drugs, a content uniformity of 4.5% would pose a significant risk of bioequivalence (BE) non-equivalence. Refer to the equivalence analysis section in the fundamental logic of narrow therapeutic window drug BE. Regardless of the preparation process, achieving the same standard for pre-mixing uniformity as total mixing uniformity is an ideal state. If pre-mixing uniformity cannot meet the relevant standards, there is no need for concern, as the acceptable range for pre-mixing uniformity can be broader than the requirements specified in the guidelines, provided that the total mixing uniformity complies with the guideline requirements.
In practice, total mixing typically involves only the addition of magnesium stearate as a lubricant, with a weight percentage of approximately 1%. Some industry practitioners have observed that total mixing durations are set at 1 or 2 minutes, as the homogeneity of the previous mixing stage has already been verified prior to total mixing. Even if magnesium stearate is unevenly distributed during total mixing, such inconsistencies cannot be detected through the homogeneity test of total mixing. The 1-or 2-minute total mixing duration may simply serve as a psychological reassurance. Inhomogeneous magnesium stearate can lead to batch-to-batch dissolution variations and may also result in adhesion issues, potentially necessitating increased magnesium stearate dosage.
How should this be designed? For formulations without excessive lubrication issues (where tablet hardness is below expected or dissolution is reduced), it is recommended to incorporate all external materials, including magnesium stearate, into the masterbatch for simultaneous mixing. This approach not only eliminates one processing step but also avoids the need for two separate uniformity assessments. For formulations potentially prone to excessive lubrication, a one-step mixing method can still be employed to achieve the shortest mixing time for uniformity. Magnesium stearate can then be added during the final masterbatch mixing according to this optimal time. If the shortest mixing time fails to resolve the excessive lubrication issue (assuming the lubrication is genuinely excessive rather than a misjudgment caused by other factors), alternative lubricants should be considered.
According to the guidelines, for masterbatch, at least three samples should be collected from each sampling point. Some products may require supplementary masterbatch uniformity testing as part of intermediate product quality standards, which necessitates content uniformity control during future commercial production. For premixes, which are typically conducted only during the R&D phase and are of a research nature, 1 to 2 samples per point (for backup) are sufficient.
The sampling volume for a single sample should typically range from 1 to 10 times the unit dose. The entire sample must be used for homogeneity testing to avoid secondary sampling. When the sampling volume exceeds 3 times the unit dose, a scientific justification or evidence must be provided. This is because a sample volume larger than 3 times the unit dose may mask the fact of uneven mixing due to excessive sample quantity.
The guidelines mention that research should be conducted on varieties assessed as medium to high-risk in mixing or compression/filling processes based on the principle of risk assessment, combined with the characteristics of the product and production process. For example, the China Pharmacopoeia requires the study of mixing uniformity for chemical oral solid dosage forms (labelled amount <25mg or active ingredient content <25%) that require content uniformity testing, as their mixing risk is relatively high. Therefore, for low-risk varieties, some pre-mixing process studies can be reduced.
Whether it's pre-mix or final-mix processes, all must undergo rigorous evaluation and testing under the strictest standards. There's no doubt about this—after all, CDE reviewers won't complain about excessive research. However, production directors will focus on efficiency and cost, particularly during intermediate process inspections for future commercial production. If QC approval is mandatory for intermediate products before proceeding, it not only reduces production efficiency but also deviates from the quality by design principle. As drug developers, we must consider both R&D and commercial production phases. Based on product characteristics and risk assessments, we should establish appropriate quality control strategies, including position-specific controls and surrogate indicators.